原文:《ServiceHot ITSM 第90周迭代公告及更新日志》

1、自助服務門戶新版上線
自助服務門戶UI界面優化,用戶使用更加友好、簡潔,可通過自助服務門戶提交工單、工單進度查詢;
同時,自助服務門戶提供知識庫和系統公告版本,方便用戶快速了解最新知識、解決方案,以及服務公告。


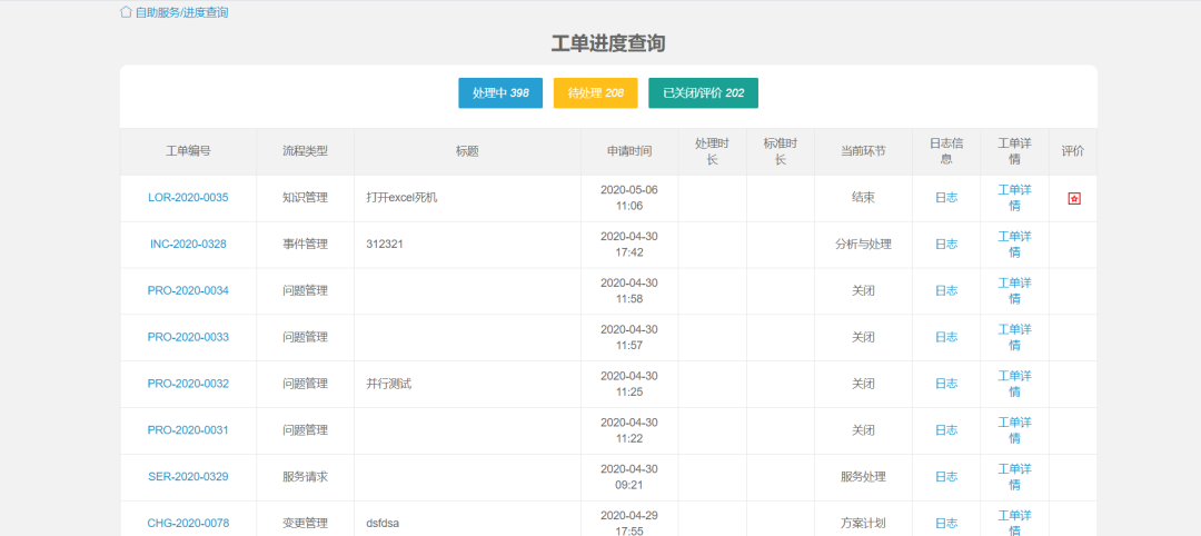
工單進度查詢
通過統一認證、單點登錄,用戶進入自助門戶后可一鍵查詢工單處理進度,進入工單詳情進行反饋和催辦。


2、知識庫功能升級
知識庫升級,提供用戶知識庫和運維知識庫兩個模塊。
用戶知識庫分為三大模塊(熱門搜索、問題分類、知識推薦),系統智能的為用戶呈現感興趣的知識和解決方案。管理員可以挑選重要的知識目錄,配置呈現在自助服務門戶首頁,方便用戶查詢;


3、用戶知識庫訪問權限升級
企業部門眾多,人員對知識需求不同;一些知識具有一定的保密性,因此企業需要將知識分類以及設定一些必要的查看權限。
本次升級,增加用戶訪問知識庫的權限邏輯,可對知識庫目錄授權可訪問的組織機構。


4、為分支機構和組織提供專屬的流程入口
Servicehot ITSM可導入復雜的組織機構,實現多分子公司的管理,本次升級服務門戶同步升級了流程權限功能,系統可根據用戶所在組織機構呈現不同的流程入口。比如分子公司的用戶或者總公司用戶進入自助服務門戶,呈現的流程是不一樣的。
配置方法:管理員可通過流程配置-服務目錄對自助服務臺定義分類
將需要呈現到服務門戶的服務目錄,設置為服務臺顯示,并且選擇有權限訪問該服務目錄和流程的所屬組織機構。


5、業務系統按組織授權
每個企業的業務系統都很復雜,用戶可能對每一個業務系統進行咨詢或報修,不同的業務系統流轉規則處理人也不一樣,最終管理員需要多各類業務系統健康度進行匯總分析。
Servicehot ITSM提供復雜的業務分類管理功能,為滿足多組織機構和多業務系統分類的使用場景,避免每個用戶提報問題時都可以看到全部的業務分類,特增加流程與業務系統的關聯邏輯。比如,分公司一的用戶發起服務請求流程,只需要呈現分公司一的業務類型。
管理員可通過流程配置-服務條目對不同的業務系統進行授權


對流程授權后,用戶提交工單時業務分類選項更加匹配,提升系統的易用性和效率。


6、資產配置按組織授權
企業硬件、軟件資產眾多,而這些資產的管理部門及人員不同,企業需要資產進行集中化的管理且隨時掌握資產動態。
本次升級后,系統支持對資產的訪問權限進行控制,用戶只能對有權限的資產進行訪問和報修。
管理員可通過資產配置-配置分類對資產配置相應的人員查看權限,可以選擇組織或角色進行授權。


7、資產配置按組織授權
企業硬件、軟件資產眾多,而這些資產的管理部門及人員不同,企業需要資產進行集中化的管理且隨時掌握資產動態。
本次升級后,系統支持對資產的訪問權限進行控制,用戶只能對有權限的資產進行訪問和報修。
管理員可通過資產配置-配置分類對資產配置相應的人員查看權限,可以選擇組織或角色進行授權。


通過項目維度可以對咨詢、報修,變更等服務流程進行統計分析,提升IT項目管控能力;
通過完全貫通的項目、工時、合同、資產、人員、流程,大大提升IT集成商和外包服務商的服務和管理能力。


ServiceHot介紹
永服科技有限公司(簡稱“ServiceHot”或“永服科技”),是中國優秀的 IT服務管理解決方案服務商和產品廠商,注冊資金5000萬,總部坐落于江蘇無錫,在北京、上海、廣州、成都等多地設立了分支機構。
ServiceHot擁有優秀的ITSM產品和多年IT服務管理項目的實施經驗,運用ITIL、ISO20000等最佳實踐方法,為客戶提供ITIL咨詢服務、ITSM產品、定制化開發服務、落地實施服務、ITIL/ITSS認證,為企業信息化建設,安全、可靠、高效地運行提供有力的保障。三大核心產品分別是ServiceHot  ITSM(IT服務管理平臺)、ServiceHot  ITSOM(IT服務運營管理平臺)和ServiceHot SOM(服務運營管理)。產品基于J2EE搭建的架構平臺、可以適應云計算部署環境,具有較好的易用性、擴展性以及配置功能,適用于企業目前IT服務過程不斷改進、提升,業務邏輯及流程復雜等環境的要求,產品在大型的國企、制造業、金融等多行業完成了實際的應用和推廣。
ServiceHot是中國電子工業標準化ITSS副組長單位,參與國家IT服務標準的編制和評審。榮獲2018 “中國IT服務十大優秀產品”(ITSM類)、2017-2018年度中國SAAS產業最佳IT服務類SAAS服務商。案例包括:xx省農信、國信證券、鄭州商品交易所、深圳證券信息、長虹集團、中航西飛、一汽啟明、中國移動、云天化集團、天原集團、華為、蘋果等。
ServiceHot一直秉承“讓您掌控IT運營服務的每一個瞬間”理念,以客戶為中心技術為驅動,持續專研從ITSM到ITSOM再到SOM的升級和創新方案,讓企業級IT服務管理擁有“智能、協同、移動、社交”的體驗。