1. 主頁面添加工單搜索功能,方便用戶可以快速查詢到工單。

2. 知識庫優(yōu)化
新增按照創(chuàng)建人、創(chuàng)建時間進行檢索,點擊創(chuàng)建人文本框后可在組織架構下面進行人員的選擇,創(chuàng)建時間可選擇最近7日、30日或是自定義時間。

3. 項目管理優(yōu)化
新增客戶組字段,當前項目服務于哪個客戶,可以在客戶組里進行選擇;
資產打通項目關聯,關聯的配置以及關聯的工單都可查看


4. 合同管理優(yōu)化
新增業(yè)務系統字段,本項目合同服務于哪些業(yè)務可以在該字段下進行選擇,配置好之后針對該項目報障的客戶,可以快速選擇業(yè)務系統。

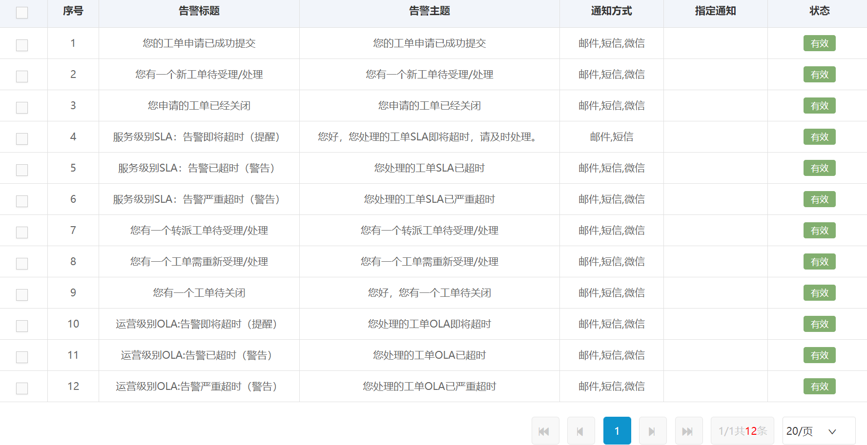
5. 通知模板更新
系統內置了標準的通知模板,方便您在流程中調用,可通過郵件、短信、微信方式,通知給申報人、創(chuàng)建人、責任人、組長等角色

